Surfando nel web alla ricerca di novità e affermazioni autorevoli, siamo incappati in questo articolo tecnico e goliardico scritto il 28/2 da Cristoph Frank di Austrian Audio. Ve lo riportiamo perché sicuramente desterà anche il vostro interesse!
Buongiorno fan dell’ingegneria acustica e dell’eccellenza nell’audio. Questo post sul blog è una parte di quella che sarà una tradizione di Austrian Audio. No, non lo Strudel di mele, ma scienza accessibile e fatti veri dai nostri ingegneri.
Quella che segue è un’analisi e commento sul brevetto del 1954 per la venerabile capsula AKG CK12, insieme a qualche rivelazione su ciò che ne ha fatto una capsula unica.
Non c’è da meravigliarsi che praticamente tutti affermino di aver emulato questo meraviglioso suono classico.
Tutto questo è stato fatto e consegnato dall’ingegnere senior Christoph Frank di Austrian Audio. Se volete leggere più dei suoi scritti e ricerche, date un occhio al suo white paper AES.
Brevetto
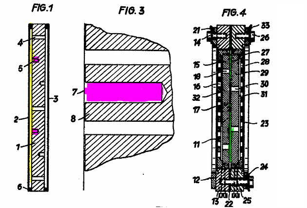
Il brevetto della CK12 descrive fondamentalmente il suo vantaggio rispetto al convenzionale sistema a doppia capsula descritto nel precedente brevetto di Braunmuehl del 1935-1941. Il vantaggio è che la porzione resistiva per il componente di gradiente della capsula è separata dalla porzione resistiva per il componente di pressione, avendo una resistenza acustica definita tra le due metà della capsula.
Se il vostro cervello sta già gridando “STOP!”… non preoccupatevi: le illustrazioni renderanno questo concetto piuttosto chiaro.
Nella versione di Braunmühl, la spazio di aria tra membrana ed elettrodo (giallo nella seguente Fig.1) definiva la resistenza sia per la pressione che per il componente cardioide del sistema, mentre i “Sacklöcher” (fori ciechi, in viola) aggiuntivi definiscono principalmente la componente pressione. Ciò significava che era difficile controllare i due componenti (fondamentalmente la miscelazione tra le caratteristiche otto e omni) in modo indipendente e ottenere un modello cardioide coerente.
Il CK12 li separava usando una fessura (verde) tra le due metà della capsula per controllare il componente gradiente, in modo che potesse essere regolato indipendentemente
Il risultato è una ripresa polare cardioide più coerente che si traduce in un migliore controllo del carattere polare quando si uniscono i due segnali delle capsule.
Smontaggio
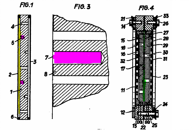
La capsula CK12 è composta da due metà quasi identiche. Ogni metà è costituita da un anello della membrana e un isolatore, con l’isolatore contenente l’elettrodo e il disco di resistenza. La membrana stessa è incollata all’anello della membrana e ha una frequenza di risonanza di 800-1500 Hz; sia il materiale della membrana che la frequenza di risonanza sono variati molto durante tutta la produzione della CK12.
Ogni anello della membrana ha 12 viti che lo tengono contro l’isolatore. Una volta rimosse queste viti, l’anello della membrana può essere sollevato; ciò può richiedere un po’ più di forza aggiuntiva a causa del rivestimento rosso sull’anello di isolamento. Questo rivestimento è stato “verniciato” sull’isolatore come una delle ultime fasi di produzione e ha sigillato il sotto-gruppo.
Come si può vedere di seguito, il liquido rosso è entrato anche nelle fessure tra l’anello della membrana, l’anello distanziatore e l’isolatore.
Questo rivestimento rosso ha quindi fornito un’ulteriore tenuta della capsula contro l’umidità e cambia l’aspetto dell’isolatore: le vecchie capsule CK12 sono anche chiamate versione “anello in ottone” rispetto alla versione “in plastica” come le nuove capsule C414 sono spesso chiamate nell’industria della musica. In realtà, l’intero isolatore CK12 è un grande pezzo di plastica solida, ma il rivestimento rosso scuro sembra renderlo meno “plasticoso” rispetto alle nuove capsule C414.
Dopo aver rimosso l’anello della membrana e l’anello distanziale isolante (spessore 30-50 μm), l’elettrodo con i suoi fori trapanati diventa visibile: è premuto nell’isolatore di plastica. Oltre a fornire isolamento per far funzionare la funzione capacitiva della capsula, l’anello distanziale definisce anche il traferro di aria tra la membrana e l’elettrodo. Ciò influenza sia la risposta in frequenza che il modello polare della capsula. Ciò è dovuto alla fornitura di una sospensione pneumatica per il movimento della membrana.
Le seconde influenze critiche sulla risposta in frequenza e sul modello polare sono i dischi di resistenza che si possono trovare sul lato posteriore degli elettrodi.
I dischi di resistenza sono diversi per entrambe le metà in quanto i fori praticati sono sfalsati per formare un percorso per il flusso d’aria attraverso una fessura formata tra i due dischi di resistenza. La fessura è nuovamente definita da un anello di distanza di circa 50μm, sebbene questo sia stato spesso personalizzato in fabbrica per ciascun microfono.
Punto importante ed interessante: è stato osservato il variare di questa distanza tra le varie unità poiché questo è un fattore chiave nel determinare la qualità, o la caratteristica del modello polare cardioide. Il CK12 è noto per la sua reiezione posteriore molto consistente di circa 20 dB. Ciò ha richiesto la taratura manuale per ogni singola capsula. Quando i dischi di resistenza sono avvitati manualmente nell’elettrodo, dopo la superficie è “molata” per garantire una superficie liscia e uniforme. Questo processo di lappatura è eseguito anche per il lato anteriore di ciascuna metà e richiede molto tempo.
Le simulazioni 3D rivelano il volume d’aria all’interno della capsula dall’elettrodo frontale all’elettrodo posteriore: la pressione dell’aria è ridotta drasticamente nella fessura formata tra i dischi di resistenza che provocano una resistenza acustica.
Variazione di resistenza
La resistenza acustica formata dalla fessura tra le due metà della capsula è più critica per la risposta in frequenza e la configurazione polare del microfono. Come mostrato nel seguente grafico, la risposta in frequenza in asse (a 0°) per diverse configurazioni dei dischi di resistenza è evidente da senza disco (e quindi nessuna resistenza acustica) a una fenditura criticamente tarata tra i due dischi.
Quest’ultima configurazione mostra quindi anche un buon pattern cardioide con circa 20dB di reiezione delle sorgenti sonore posteriori (180°).










Aggiungi Commento