Certamente possiamo considerare il primo microfono della storia l’oggetto creato per la “telefonia” (toh, sempre lì torniamo) da Antonio Meucci nel 1849 ed affinato negli anni successivi fino alla creazione, fra il 1864 ed il 1865, del “telettrofono”.
Purtroppo solo nel 2002 fu ammesso dalla camera dei rappresentanti che l’invenzione del fiorentino era antecedente al brevetto US 174.465 del 1876 di Alexander Graham Bell per un sistema elettrico estremamente semplice con un cavo in corrente elettrica che collegava fra di loro due dispositivi rudimentali dedicati a ricezione e trasmissione dell’audio.
Ricostruzione dell’apparecchio di Meucci al Museo della Scienza di Milano
Fu più accorto (e ricco!) Edward Charles Wente che quasi 100 anni fa (tra un mese, esattamente il 20/12/1916) depositò il brevetto US 1.333.744 per un “Telephone Transmitter”, sviluppato per migliorare la qualità delle trasmissioni telefoniche che altro non è che un microfono a condensatore!
Nato nel 1889 Wente lavorò per Western Electric/Bell Labs dal 1914 al 1954 ed ebbe un ruolo importante, nonostante nel XXI° secolo sia quasi sconosciuto alla maggior parte di noi, nello sviluppo dell’audio professionale depositando ben 36 brevetti, incluso il microfono dinamico ed i driver a compressione per le frequenze alte, e fu premiato nel 1936 con un Scientific and Engineering Academy Award.
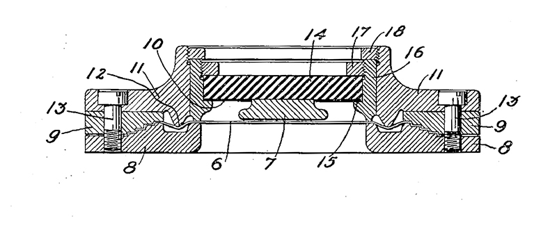
Condensatore Wente
Torniamo al microfono a condensatore descritto nel suo brevetto “…il diaframma (6) e il backplate (ossia l’elettrodo) (7) costituiscono le due armature del condensatore. Le onde sonore incidenti sul diaframma lo faranno vibrare, provocando quindi le variazioni nello spessore effettivo del dielettrico fra le armature, generando conseguentemente variazioni nella capacità del condensatore”.
Il backplate è separato dal diaframma da una pellicola molto sottile con spessore di circa 12 micron. In questo brevetto il diaframma era una lamiera di acciaio portata al suo limite di circa 28 micron. Un pezzo di mica separava la piastra ed il diaframma, tenuto saldamente in posizione per creare una camera d’aria a tenuta stagna, con la funzione di cuscinetto.
Wente: schema della valvola
Ma in quei tempi la pellicola da 12 micron richiedeva una grande precisione costruttiva e rappresentava un costo non indifferente! Lo schema del circuito del microfono di Wente è relativamente semplice, con il segnale della capsula “condensatore trasmettitore” pilotato da una valvola con un trasformatore in uscite, tutti elementi familiari negli attuali microfoni a condensatore. La sezione di preamplificazione era stata creata dal pioniere dell’elettronica Ralph Hartely nel 1915 usando un triodo Audion inventato da Lee De Forest nel 1908.
Questo progetto veramente primordiale tuttavia forniva una risposta molto più lineare rispetto ai trasduttori contemporanei, come i microfoni a carbone, anche se per onor di cronaca c’è da segnalare che nel 1920 il Dr. Harry F. Olson (autore della bibbia dell’audio dello scorso secolo!) della RCA iniziò a lavorare sul microfono a nastro, e nel 1931 l’RCA commercializzò il microfono a nastro 77, con ben sette varianti di direttività ed il diffusissimo 44-A, progetti ripresi in modo fedelissimo dalla AEA.
WE-7A
L’anno successivo Wente mise a punto una versione con un diaframma da 49mm di diametro e 22 micron di spessore che rispondeva oltre 15kHz con caratteristica omnidirezionale… un’enormità rispetto ai 3kHz di risposta in frequenza dei dischi a 78 giri!
Nel tempo i microfoni a condensatore di Wente ebbero ulteriori miglioramenti, come diaframmi in alluminio che aumentavano la sensibilità del microfono e la capsula del suo modello 394 soddisfò le esigenze dell’emittenza, della registrazione “elettrica” ed il suono per l’industria cinematografica che usciva dal “muto”. La gamma della Western Electric fu estesa con modelli famosi quali 7A, 8A, 9A, 10A, 47A e 53A… ma praticamente adottavano tutti il “trasmettitore a condensatore” 394 di Wente.
Nonostante l’indiscussa qualità i microfoni a condensatore non ebbero buona diffusione sia per problemi di costo che di fragilità ma anche per la presenza di un ingombrante elettronica esterno (non dimentichiamo che i transistor non esistevano ancora).
WE-47A
Negli anni seguenti la produzione dei microfoni a condensatore ebbe un forte sviluppo in Germania grazie alla sinergia fa l’estetica Bahuaus e l’ottima elettronica realizzata da George Neumann con il suo CMV3. A questo modello omnidirezionale, basato su un triodo REO84K, con capsule M1 ed M2 in PVC placcato, seguì nel 1933 il modello ispirato dal brevetto di Braunmühl e Weber, con capsula a doppia membrana che, grazie ad una soluzione meccanica, consentiva la ripresa cardiode che ne semplificava l’utilizzazione anche in ambienti con acustica poco o per niente controllata!
WE-53A
Questa capsula fu chiamata M7 e fu usata per il primo microfono condensatore cardioide prodotto in modo industriale (sullo stesso corpo erano montabili le capsule M8 bi-direzionale e la M9 omnidirezionale) denominato la bottiglia per la sua forma e dimensione, reso famoso nei filmati dell’epoca, in particolare quelli delle Olimpiadi del 1936 e in alcuni recenti scopiazzamenti.
Ringraziamenti a Simone Coen per avermi evocato un articolo di Petersen su Wente e Teo Pizzolante per la sua supervisione tecnica.
p.s. abbiamo anticipato questo articolo per evitare che finisca nel perdersi a Natale in mezzo ai cinepanettoni…
WE-7A










Aggiungi Commento